44+ Gambar Instalasi Smoke Detector Paling Modern Dan Nyaman
Poin pembahasan 44+ Gambar Instalasi Smoke Detector Paling Modern Dan Nyaman adalah :
44+ Gambar Instalasi Smoke Detector Paling Modern Dan Nyaman. Hampir setiap rumah saat ini tentu sangat membutuhkan aliran skema listrik. Karena skema listrik bagi sebuah rumah. Saat membangun atau renovasi rumah, skema listrik rumah pastinya harus aman agar rumah tidak terancam oleh korsleting. Simak ulasan terkait skema listrik dengan artikel 44+ Gambar Instalasi Smoke Detector Paling Modern Dan Nyaman berikut ini

WINDIA TEKNIK Tukang Listrik Pipa Ledeng Surabaya Sumber : pemborongme.blogspot.com

Hong Chang Fire Alarm Multifungtion Feature Sumber : www.bromindo.com

Fire Alarm Full Addressable HOOSEKI Proteksiapi com Sumber : proteksiapi.com

FIRE ALARM Kumpulan Referensi Gambar Autocad Fire Alarm Sumber : pekerjaan-mekanikal-elektrikal.blogspot.com

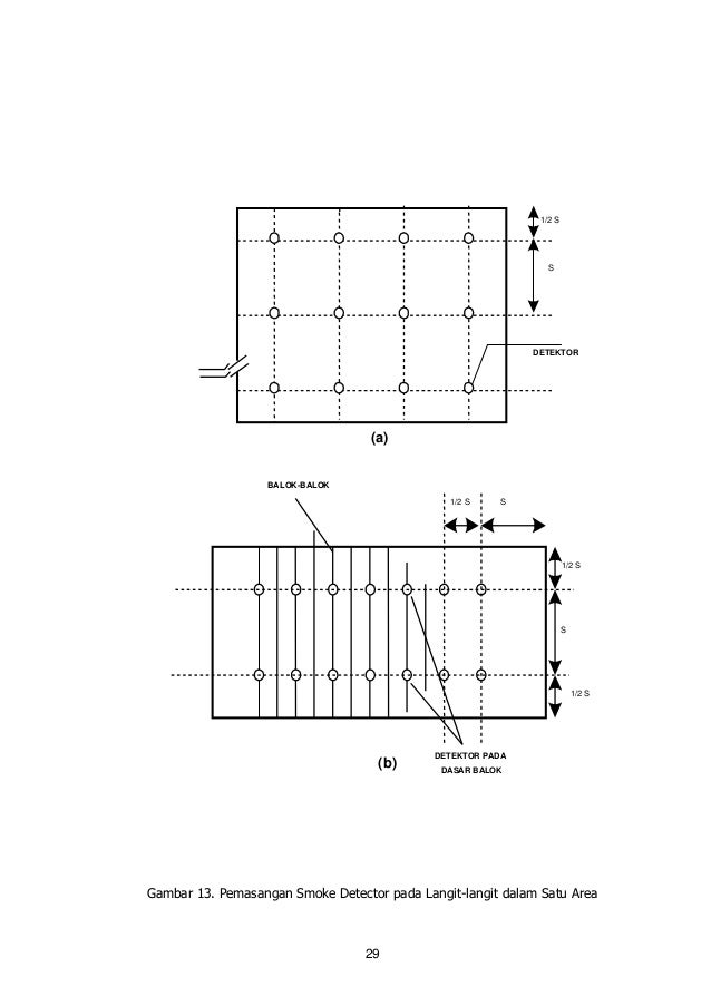
Teknik pemadam kebakaran Sumber : www.slideshare.net

Teknik pemadam kebakaran Sumber : www.slideshare.net

Rangkaian Instalasi Fire Alarm Patigeni Sumber : patigeni.com
cara pasang kabel smoke detector, cara instalasi alarm, instalasi alarm gedung, instalasi fire alarm fully addressable, skematik fire alarm, harga instalasi smoke detector, standar jarak pemasangan smoke detector, komponen fire alarm,

Mengenal Fitur dan Istilah Yang Dipergunakan Pada CCTV Sumber : pemasangan.com

Teknik pemadam kebakaran Sumber : www.slideshare.net

Anatomi Fire Alarm Konvensional Analog wikicctv Sumber : wikicctv.wordpress.com

Alarm System Indonesia Mei 2020 Sumber : fire-safety-security-solution.blogspot.com

FIRE ALARM Kumpulan Referensi Gambar Autocad Fire Alarm Sumber : pekerjaan-mekanikal-elektrikal.blogspot.com

Fire Alarm Konvensional HOOSEKI Proteksiapi com Sumber : proteksiapi.com

21 March 2020 A Sumber : amru1.wordpress.com

Fire Alarm Konvensional HOOSEKI Proteksiapi com Sumber : proteksiapi.com
cara pasang kabel smoke detector, cara instalasi alarm, instalasi alarm gedung, instalasi fire alarm fully addressable, skematik fire alarm, harga instalasi smoke detector, standar jarak pemasangan smoke detector, komponen fire alarm,
44+ Gambar Instalasi Smoke Detector Paling Modern Dan Nyaman. Hampir setiap rumah saat ini tentu sangat membutuhkan aliran skema listrik. Karena skema listrik bagi sebuah rumah. Saat membangun atau renovasi rumah, skema listrik rumah pastinya harus aman agar rumah tidak terancam oleh korsleting. Simak ulasan terkait skema listrik dengan artikel 44+ Gambar Instalasi Smoke Detector Paling Modern Dan Nyaman berikut ini

WINDIA TEKNIK Tukang Listrik Pipa Ledeng Surabaya Sumber : pemborongme.blogspot.com
ASOSIASI TUKANG LISTRIK INDONESIA Jasa Instalasi Listrik
mendeteksi potensi potensi kebakaran seperti gumpalan asap smoke detector temperatur tinggi heat detector dan adanya gas yang berbahaya gas detector ketika alat ini mendeteksi potensi kebakaran tersebut maka alat ini akan secara otomatis memberikan tanda bahaya alert seperti membunyikan bell menyalakan alarm

Hong Chang Fire Alarm Multifungtion Feature Sumber : www.bromindo.com
Rangkaian Instalasi Fire Alarm Patigeni
Berdasarkan gambar rangkaian instalasi fire alarm konvensional tersebut kita dapat melihat bahwa panel control dihubungkan dengan beberapa zone menggunakan kabel dimana setiap zone terdiri dari detector smoke dan heat dan MCP Manual call point pada unit MCP diletakkan sejajar dengan indicator lamp dan fire bell yang merupakan detector

Fire Alarm Full Addressable HOOSEKI Proteksiapi com Sumber : proteksiapi.com
Cara Kerja Smoke Detector Dan Penempatanya
Cara kerja smoke detector dan penempatanya merupakan suatu hal yang perlu kita perhatikan cara kerja smoke detector dipicu oleh asap yang masuk kedalam smoke detector partikel asap yang memenuhi ruang smoke chamber saat kebakaran terjadi Saat kepadatan asap smoke density sudah memenuhi ambang batas threshold rangkaian elektronik yang terdapat didalam smoke detector

FIRE ALARM Kumpulan Referensi Gambar Autocad Fire Alarm Sumber : pekerjaan-mekanikal-elektrikal.blogspot.com
MODUL 4 DETEKTOR DAN ALARM
06 07 2020 Jika anda pernah menangani persoalan sensor detector gas maka seringkali yang akan anda ingat adalah sebuah alat yang dipasang di dapur rumah makan atau gudang yang menyimpan tabung gas untuk kemudian mendeteksi kebocoran yang akan terjadi dan sesegera jika terjadi kebocoran akan menimbulkan alarm

Teknik pemadam kebakaran Sumber : www.slideshare.net
Instalasi Sensor Gas dan Setting Fire Alarm
Peralatan Instalasi Fire Alarm Hooseki PT Libra Permana Wonogiri adalah Smoke Detector Hooseki Sirine dan Rotary Lamp Tingkat kesulitan instalasi fire alarm di PT Liebra Permana terletak pada karakteristik bangunan atau gedung yang akan diproteksi

Teknik pemadam kebakaran Sumber : www.slideshare.net
Instalasi Fire Alarm Hooseki PT Libra Permana Wonogiri

Rangkaian Instalasi Fire Alarm Patigeni Sumber : patigeni.com
Berbagi ilmu Belajar Teori Fire Alarm Sistem Bagi Pemula
Sistem Konvensional yaitu yang menggunakan kabel isi dua untuk hubungan antar detector ke detector dan ke Panel Kabel yang dipakai umumnya kabel listrik NYM 2x1 5mm atau NYMHY 2x1 5mm yang ditarik di dalam pipa conduit semisal EGA atau Clipsal Pada instalasi yang cukup kritis kerap dipakai kabel tahan api FRC Fire Resistance Cable dengan ukuran 2x1 5mm terutama untuk kabel kabel
cara pasang kabel smoke detector, cara instalasi alarm, instalasi alarm gedung, instalasi fire alarm fully addressable, skematik fire alarm, harga instalasi smoke detector, standar jarak pemasangan smoke detector, komponen fire alarm,

Mengenal Fitur dan Istilah Yang Dipergunakan Pada CCTV Sumber : pemasangan.com
Jenis Smoke Detector cara kerja fungsi lihat disini
Jenis Smoke Detector fotoelektrik Salah satu jenis smoke detector yang banyak dipilih adalah fotoelektrik cara kerja umum dari fotoelektrik adalah asap yang masuk akan diskater menjadi partikel cahaya didalamnya ada ruangan berbentuk T dengan light emitting diode LED yang akan mengambil gambar lurus dengan arah horizontal pada T

Teknik pemadam kebakaran Sumber : www.slideshare.net
Smoke Detector Heat Detector Sensor Fire Alarm System
Gambar Nama Barang Harga Combination Smoke Heat 4 Wire Smoke Detector Multi adalah alat pendeteksi asap yang dapat bekerja dengan sistem 4 kabel ataupun 2 kabel hal ini memungkinkan sensor ini untuk Rp 275 500 00 Tambahkan Standalone Smoke Heat Detector

Anatomi Fire Alarm Konvensional Analog wikicctv Sumber : wikicctv.wordpress.com

Alarm System Indonesia Mei 2020 Sumber : fire-safety-security-solution.blogspot.com

FIRE ALARM Kumpulan Referensi Gambar Autocad Fire Alarm Sumber : pekerjaan-mekanikal-elektrikal.blogspot.com

Fire Alarm Konvensional HOOSEKI Proteksiapi com Sumber : proteksiapi.com

21 March 2020 A Sumber : amru1.wordpress.com

Fire Alarm Konvensional HOOSEKI Proteksiapi com Sumber : proteksiapi.com
0 Comments